Fan parameters
| model |
SD-B7300 |
SD-B6700 |
SD-B6200 |
SD-B5200 |
SD-B4200 |
SD-B3600 |
SD-B3000 |
SD-B2500 |
| diameter |
7.3m(24ft) |
6.7m (22ft) |
6.2m (20ft) |
5.2m (17ft) |
4.2m (14ft) |
3.6m (12ft) |
3m (10ft) |
2.5m (8ft) |
| weight |
87kg |
83kg |
80kg |
74kg |
68kg |
65kg |
61kg |
58kg |
| Speed range |
20-55rpm |
20-65rpm |
20-65rpm |
20-65rpm |
10-80rpm |
10-90rpm |
10-100 rpm |
10-120 rpm |
| Area covered |
Φ38-43m |
Φ35-40m |
Φ32-47m |
Φ25-30m |
Φ22-26m |
Φ20-24m |
Φ18-20m |
Φ15-18m |
| Input voltage |
90-265VAC |
| Diameter |
5200mm (17ft) |
| Fan blade No. |
5 |
| Fan blade length |
2470mm |
| weight |
74kg |
| Input voltage |
90V |
120V |
230V |
264V |
| PF value |
0.995 |
0.999 |
0.997 |
0.996 |
| Speed range |
20-65RPM |
| Max current |
5.8A |
4.2A |
2.1A |
1.87A |
| Input power |
0.52KW |
0.49W |
0.47W |
0.48KW |
| Area covered |
φ25-30m(500-700㎡) |
| Noise Level |
39dB |
| Diameter |
6700mm (22ft) |
| Fan blade No. |
5 |
| Fan blade length |
3220mm |
| weight |
83kg |
| Input voltage |
90V |
120V |
230V |
264V |
| PFvalue |
0.981 |
0.998 |
0.995 |
0.996 |
| Speed range |
20-55rpm |
20-55rpm |
20-65rpm |
20-55rpm |
| Max current |
7.2A |
5.5A |
5.5A |
2.4A |
| Input power |
0.68KW |
0.65KW |
1.2KW |
0.64KW |
| Area covered |
Φ35-40m(950-1250㎡) |
| Noise Level |
39dB |
Power System
Using BLDC brushless motor technology, fully closed design of outer rotor with high torque. compared with traditional asynchronous motor, it eliminates the reduction gearbox, improves the transmission efficiency, and is maintenance-free for life.
■Low noise: Motor noise≤40dB
■High efficiency: Motor efficiency up to 84%
■Low heat:Maximum heat of the motor is less than 55℃
■Small size:Motor diameter 300mm, body height 80mm
Control system
Multi-touch capacitive color screen design, high PF value, any-speed setting, equipped with wireless remote control
| Dimension |
400X280X100mm |
| Power parameters |
AC90– 380V |
| Current range |
≤10A |
| Content |
Input power, input voltage, real-time speed, accumulated working time, room temperature |
| Remote control range |
200-500m |
| Protection function |
Over current, over voltage, under voltage, stall protection and others |
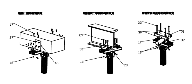
Structure connection
■High-pressure die casting chassis
■High-quality aluminum-magnesium alloy 5052 precision-machined fan blades, light weight and high strength. The cross-section is optimized by hydrodynamics software ■design, with large air volume and low resistance, and wrapped by PU cushion
■The chassis is designed with 5 positioning grooves with the same cross-section as the fan blade. The fan blade is fixed with high-strength bolts and locknuts. It is easy to install, safe and reliable.
Installation space requirements

■Steel structure, concrete structure, spherical grid structure or complex structure can be installed
■Space height above 3.5 meters
■The safety distance between the fan blade and the obstacle should be not less than 0.2m